AirGradient ONE Installation Instructions
AirGradient ONE Installation Instructions

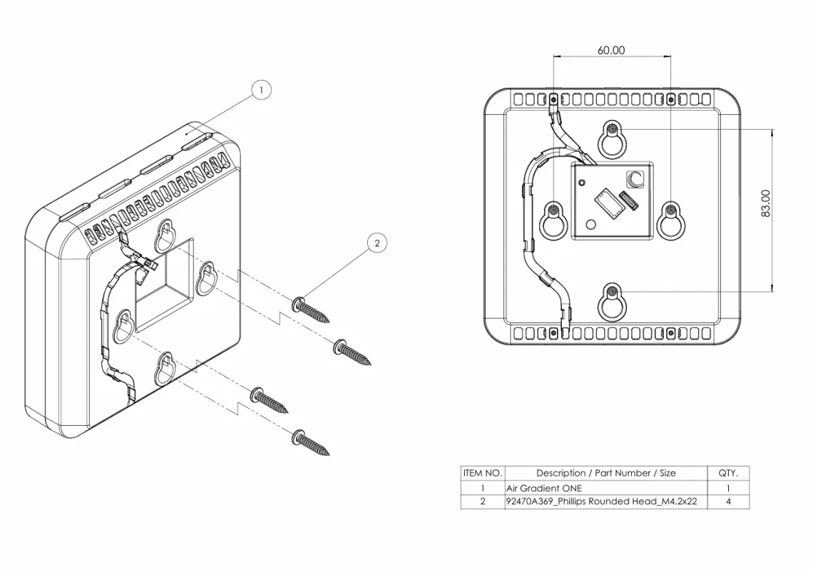
The AirGradient ONE comes with multiple mounting and cable-management options, making it a flexible air quality monitor that can be mounted on a wall or sat on a desk (using the included feet).
The four holes located on the top, bottom, left and right of the device allow it to be mounted on a wall via a M4 screw or screws. These holes align with U.S. and EU junction boxes. While the device will be secure with just one screw at the top of the monitor, it can easily be tilted or turned off-axis, so we recommend using the left and right mounting holes if possible, preventing any movement of the device.

If you want a temporary installation or prefer to have the monitor on a desk or shelf, we also include two plastic feet that can be slid into the vents at the bottom of the device. These feet allow you to stand the monitor on any flat surface easily.
While it depends on the installation, we generally recommend routing the cable downwards through the channel on the back of the device if using the included feet. If mounted on a wall, you can either use the top or bottom channel, depending on your setup.
It’s important to note that while any USB Type-C cable can be used with this device, only the included 2-metre 90-degree Type-C cable allows it to sit flush with a wall or any other surface it’s mounted on. Also, please note that the AirGradient ONE does not come with a USB adapter. You will need a USB A 2A 5v adapter to power this device.

Wall-Mounting Considerations
- Height: Please do not place the sensor below 100cm or above 300cm on the wall. Ideally, it should be placed between 150 and 250cm.
- Orientation: Ensure that the monitor is mounted on the wall in the correct orientation and has unobstructed airflow at the bottom and top of the monitor.
- Walls: Please ensure that the walls are not hot due to outside exposure, which might negatively influence the temperature sensor.
- Sunlight: To get accurate temperature readings, please ensure that the sensor unit is not exposed to direct sunlight at any time of the day.
- Doors/Windows: To ensure stable readings, we recommend not placing the sensor unit close to doors or windows.
- Air Conditioner / Ventilation Outlet: Please do not place the sensors closer than 90cm to any A/C or ventilation outlet. Furthermore, for the best results, avoid placing the device in front of an AC unit.
- Distance from Pollution Sources: Avoid placing the monitor too close to direct pollution sources such as ovens, fireplaces, or other localised emission sources that could skew the readings.
- Heat Sources: If possible, place the device away from heat sources such as large electronics/appliances.
Desk-Mounting Considerations

Alongside the above considerations for airflow (avoid proximity to pollution sources, keep the device out of direct sunlight, etc.), there are a few other considerations if you want to use the feet and place the monitor on a desk or shelf.
- Monitor Feet: Ensure you use the included feet for the monitor. These provide clearance at the bottom of the device, ensuring good airflow despite the venting facing the bottom of the device.
- Ventilation: Place the device somewhere with space around it. For example, placing the monitor on a bookshelf with only a few centimetres of clearance above the monitor can result in poor airflow and incorrect reading.
You can download the PDF with instructions here.